# 作业流监控
当用户完成数据开发并提交调度后,即可在作业调度界面中对作业流与任务进行管理运维操作,包括对作业流的执行运行、暂停、停止、重跑、删除等操作,其他还包括查看作业流详情、任务运行历史、任务间的上下游关系、任务执行实例等功能。
作业流监控的功能主要有:
# 作业流管理
点击左侧菜单「作业流管理」,跳转到「作业流管理」页面,可以看到该调度引擎下已提交的所有作业流。
开启页面定时刷新后,可以设置页面刷新的间隔时间,便于用户可以实时看到作业流状态。

# 运行参数说明
失败策略:当某一个任务节点执行失败时,其他并行的任务节点需要执行的策略。”继续“表示:某一任务失败后,其他任务节点正常执行;”结束“表示:终止所有正在执行的任务,并终止整个流程。
环境名称:每个环境等价于 dolphinscheduler_env.sh 文件。
通知策略:当作业流结束,根据作业流状态发送作业流执行信息通知邮件,包含任何状态都不发,成功发,失败发,成功或失败都发。
告警组:一个告警组可以关联多个告警策略,用于将告警通知发送到多个告警配置策略。
流程优先级:流程运行的优先级,分五个等级:最高(VIP),高(HIGH),中(MEDIUM),低(LOW),最低(LOWEST)。当 master 线程数不足时,级别高的流程在执行队列中会优先执行,相同优先级的流程按照先进先出的顺序执行。
Worker 分组:该流程只能在指定的 worker 机器组里执行。默认是 Default,可以在任一 worker 上执行。
告警组:选择通知策略||超时报警||发生容错时,会发送流程信息或邮件到通知组里的所有成员。
启动参数: 在启动新的作业流实例时,设置或覆盖全局参数的值。
补数:指运行指定日期范围内的作业流定义,根据补数策略生成对应的作业流实例,补数策略包括串行补数、并行补数 2 种模式。
依赖模式:是否触发下游依赖节点依赖到当前作业流的作业流实例的补数(要求当前补数的作业流实例的定时状态为已上线)。打开依赖模式后,有如下选项:
所有层级依赖: 关闭:只会触发下游直接依赖到当前作业流的补数;打开:触发下游直接及间接依赖到当前作业流的补数。

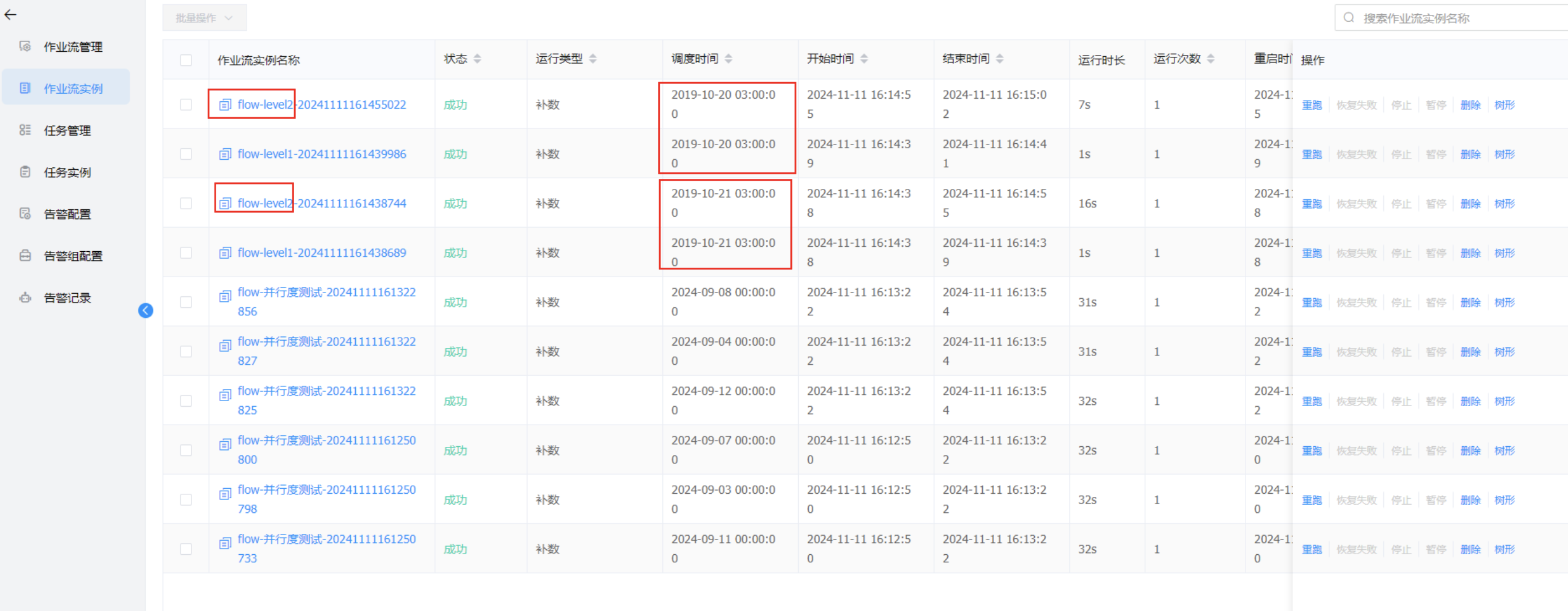
如上图5个作业流:作业流flow-level1配置了定时且启用定时;作业流flow-level1被作业流flow-level2依赖,flow-level2被作业流flow-level3和作业流flow-level4依赖,作业流flow-level3被flow-level4和flow-level5依赖。
当所有依赖层级关闭时, 运行flow-level1会触发直接下游flow-level2的补数,且补数逻辑按照flow-level1的定时策略补数。


当所有依赖层级打开时,运行flow-level1会触发直接下游flow-level2及间接依赖的flow-level3、flow-level4、flow-level5的补数,且补数逻辑按照flow-level1的定时策略补数。


注意:当下游(无论直接下游还是间接下游)作业流被依赖调起且作业流运行失败时,该作业流后续不再被调起。如下图:flow-level2、flow-level3、flow-level4运行失败,则后续不再调起以上3个作业流,flow-level1和flow-level5继续调度。


从依赖节点执行: 指下游依赖作业流从本作业流的依赖节点执行或从本作业流的起始节点开始执行。是:从依赖节点开始执行;否:从作业流的起始节点开始执行。
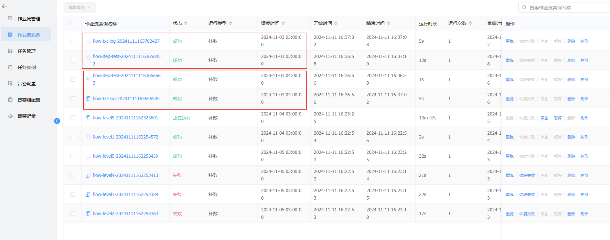
如下图模型:flow-dep-test作业流中dependent组件(设置依赖flow-txt-log作业流)处于第三个任务节点。

当设置【从依赖节点执行】选择是,则运行flow-txt-log作业流时,下游作业流flow-dep-test从dep节点开始执行。



当设置【从依赖节点执行】选择否,则运行flow-txt-log作业流时,下游作业流flow-dep-test从起始节点(文本文件处处)开始执行。



执行方式:串行执行和并行执行。
串行执行:指定时间范围内,从开始日期至结束日期依次执行补数,依次生成多条作业流实例;点击运行作业流,选择串行补数模式:例如从7月 9号到7月10号依次执行,依次在作业流实例页面生成两条作业流实例。
并行执行: 指定时间范围内,同时进行多天的补数,同时生成多条作业流实例。点击运行作业流,选择并行补数模式:例如同时执行7月9号到7月10号的作业流定义,同时在作业流实例页面生成两条作业流实例(执行策略为串行时流程实例按照策略执行)。
并行度:指在并行补数的模式下,最多并行执行的实例数。例如同时执行11月3号到11月7号的作业流定义,并行度为3,那么作业流实例同时存在3个作业流并行运行:


执行顺序:降序、升序。
作业流实例补数时按照补数日期的降序或升序执行。

调度日期:
通过页面选择日期:

手动输入:手动输入以逗号分割日期格式为
yyyy-MM-dd HH:mm:ss的日期。
补数与定时配置的关系:
未配置定时或已配置定时且定时状态下线:根据所选的时间范围结合定时默认配置(每天0点)进行补数,比如该作业流调度日期为8月4号到8月6号,作业流实例为:





已配置定时并定时状态上线:根据所选的时间范围结合定时配置进行补数,比如该作业流调度日期为9月15号到9月18号,配置了定时(每日凌晨3点运行),作业流实例为:


# 操作使用说明
作业流的操作主要有:
# 上线
提交后的作业流是“下线”状态,必须要点击【上线】按钮后才能手工运行或者定时触发运行。
当在 IDE 中点击【提交】按钮后,作业流的状态会变为“下线”。若要再次执行需要点击【上线】。
当选择多个作业流后,点击【批量操作】按钮,可以进行作业流的批量上线、下线、启用定时、停用定时等操作。

可以单独对某个作业流进行【上线】操作。

# 下线
点击【下线】按钮后,该作业流不能再运行,如若需要运行,则必须点击【上线】按钮。

# 运行
点击"作业流名称"对应的【运行】按钮,用于手动触发一次执行,即:执行一次非周期性运行。

# 定时
定时用于设置作业流的定时策略。
点击"作业流名称"对应的【定时】按钮,在定时弹窗中可以设置定时调度策略,支持 Cron 表达式设置周期性调度。
当多个作业流的定时设置完毕后,可以点击复选框选择多个作业流,然后点选【批量操作】的【启用定时】,则可以批量启用定时触发执行作业流。数据项“定时启用/停用”会变为“开启”状态。

Cron表达式规则:
| 域 | 允许值 | 允许的特殊字符 |
|---|---|---|
| 秒(Seconds) | 0~59的整数 | , - * / 四个字符 |
| 分(Minutes) | 0-59的整数 | , - * / 四个字符 |
| 小时(Hours) | 0-23的整数 | , - * / 四个字符 |
| 日期(DayofMonth) | 0-31的整数(但是需要考虑月的天数) | ,- * ? / L W C 八个字符 |
| 月份(Month) | 1-12的整数或英文JAN-DEC | , - * / 四个字符 |
| 星期(DayofWeek) | 1-7的整数或英文SUN-SAT(1=SUN, 2=MON,...) | , - * ? / L C # 八个字符 |
| 年份(Year) | 1970-2099 | , - * / 四个字符 |
Cron表达式域使用的特殊字符含义:
| 字符 | 含义 |
|---|---|
| * | 表示匹配该域的任意值,假如在 Minutes 域使用 *,即表示每分钟都会触发事件。 |
| ? | 只能用在 DayofMonth(日期)和 DayofWeek(星期)两个域。它也匹配域的任意值,但实际不会。因为 DayofMonth 和 DayofWeek 会相互影响。例如想在每月的 20 日触发调度,不管 20 日到底是星期几,则只能使用如下写法: 13 13 15 20 * ?,其中最后一位只能用 ?,而不能使用 *,如果使用 * 表示不管星期几都会触发,实际上并不是这样。 |
| - | 表示范围,例如在 Minutes 域使用 5-20,表示从 5 分到 20 分钟每分钟触发一次 |
| / | 表示起始时间开始触发,然后每隔固定时间触发一次,例如在Minutes域使用 5/20,则意味着 5 分钟触发一次,而 25,45等分别触发一次。 |
| , | 表示列出枚举值。例如:在Minutes域使用 5,20,则意味着在 5 和 20 分每分钟触发一次 |
| L | 该字符只在 DayofMonth(日期)和 DayofWeek(星期)域中使用,代表“Last”的意思,但它在两个字段中意思不同。L在日期字段中,表示这个月份的最后一天,如一月的 31 号,非闰年二月的 28 号;如果L用在星期中,则表示星期六,等同于7。但是,如果 L 在前面有一个数值 X ,它就具有其他含义了。例如,月份中的 6L 表示该月的倒数第六天;星期域中的 FRIL 表示这个月的最后一个星期五。 |
| W | 该字符只能出现在 DayofMonth(日期)域里,是对前导日期的修饰,表示离该日期最近的工作日(周一到周五)。例如 15W 表示离该月15 号最近的工作日(周一到周五),如果该月15 号是星期六,则匹配 14 号星期五;如果15 日是星期日,则匹配 16 号星期一;如果 15 号是星期二,那结果就是15 号星期二。但必须注意关联的匹配日期不能够跨月,如你指定 1W,如果 1 号是星期六,结果匹配的是 3 号星期一,而非上个月最后的那天。W 字符串只能指定单一日期,而不能指定日期范围。 |
| LW | 在 DayofMonth 字段可以组合使用 LW,它的意思是当月的最后一个工作日(周一到周五)。 |
| C | 该字符只在 DayofMonth(日期)和 DayofWeek(星期)域中使用,代表“Calendar”的意思。它的意思是计划所关联的日期,如果日期没有被关联,则相当于日历中所有日期。例如:5C 在日期字段中就相当于日历 5 日以后的第一天;1C 在星期字段中相当于星期日后的第一天。 |
| # | 该字符只能在 DayofWeek(星期)域中使用,表示当月某个工作日(周一到周五)。如 6#3 表示当月的第三个星期五( 6 表示星期五,#3表示当前的第三个);而 4#5 表示当月的第五个星期三,假设当月没有第五个星期三,忽略不触发。 |
Cron表达式示例:
| 表达式 | 含义 |
|---|---|
| */5 * * * * ? | 每隔 5 秒执行一次。 |
| 0 */1 * * * ? | 每隔 1 分钟执行一次。 |
| 0 0 */1 * * ? | 每隔 1 小时执行一次。 |
| 0 0 12 * * ? | 每天 12 点执行一次。 |
| 0 0 0,13,18,21 * * ? | 每天的 0 点、13 点、18 点、21 点都触发一次。 |
| 0 0 0-8 * * ? | 每天的 0-8点,每整点触发一次。 |
| 0 15 10 ? * * | 每天早上 10:15 触发。 |
| 0 15 10 * * ? 2024 | 2024 年的 每天早上 10:15 触发。 |
| 0 0 8 ? * 2-6 | 每周一到周五,上午 8 点执行一次。 |
| 0 0/5 8-9 ? * 2-6 | 每周一到周五的上午 8 点到 9 点期间,每隔 5 分钟执行一次。 |
| 0 0 8,17 ? * 2-6 | 每周一到周五的 8 点和 17 点,执行一次。 |
| 0 0 8,13 * * ? | 每天的早8、下午1点触发一次。 |
| 0 0 12 ? * 2#1 | 每月第一个星期一中午12点触发一次。 |
| 0 * 14 * * ? | 每天从下午 2 点开始到 2 点 59 分每分钟一次触发。 |
| 0 0/5 14 * * ? | 每天从下午 2 点开始到 2 点 55 分结束每 5 分钟一次触发。 |
| 0 10,44 14 ? 3 WED | 三月的每周三的14:10和14:44触发 |
| 0 15 10 ? * MON-FRI | 每个周一、周二、周三、周四、周五的10:15触发。 |
| 0 15 10 15 * ? | 每月 15 号的 10:15 触发。 |
| 0 15 10 L * ? | 每月的最后一天的 10:15 触发。 |
| 0 15 10 ? * 6L | 每月最后一个周五的 10:15 触发。 |
| 0 15 10 ? * 6L 2002-2005 | 2002 年至 2005 年的每月最后一个周五的 10:15触发。 |
# 任务血缘
点击【任务血缘】按钮,可以图形化方式查看该作业流的任务定义关系图。

右键点击图中节点的【查看详情】按钮,可以查看任务的详细信息。

右键点击图中节点的【查看表血缘】按钮,可以查看当前任务中用到的所有表级血缘、字段级血缘关系。


# 表血缘
点击【表血缘】按钮,可以图形化方式查看该作业流的所有任务用到的表级、字段级血缘关系,包括:血统、影响、全链。


点击表左边的 【<】 按钮可以查看该表的直接血统。

点击表左边的 【<<】 按钮可以查看该表的全部血统。

点击表左边的 【>】 按钮可以查看该表的直接影响。

点击表左边的 【>>】 按钮可以查看该表的全部影响。

# 删除
点击【删除】按钮,可以删除该作业流。若想再次运行,可以在 IDE 中重新提交版本。已经"上线"的作业流不允许删除。
点击【确认】按钮,完成删除操作;点击【取消】按钮,取消本次删除操作。

# 作业流实例
点击左侧菜单“作业流实例”,跳转到"作业流实例"页面,可以看到该调度引擎下已经运行过的作业流实例记录。
用户可以对作业流实例的执行重跑、恢复失败、暂停、停止、删除、运行图等操作。

重跑:重新执行已经终止的作业流。
恢复失败:针对失败的作业流,可以执行恢复失败操作,从失败的节点开始执行。
暂停:对正在运行的作业流进行暂停操作,系统状态变为等待执行,会等待正在执行的任务结束,暂停下一个要执行的任务。
停止:对正在运行的流程进行停止操作,后台会先 kill worker 进程,再执行 kill -9 操作。
删除:删除作业流实例及作业流实例下的任务实例。点击【确认】按钮,完成删除操作。 点击【取消】按钮,取消删除操作。

运行图:作业流实例下的任务实例的运行过程顺序图及每个节点的运行状态、运行时长、开始时间、结束时间等。

# 搜索
点击作业流管理、作业流实例列表右上方的【高级】按钮,输入搜索条件,点击【搜索】按钮,可以按照条件完成模糊查询,点击【重置】按钮,可以清空搜索条件。

搜索作业流实例时,「状态」支持多选。
