# 检核任务监控
提示
检核任务监控页面显示所有检核任务运行情况。
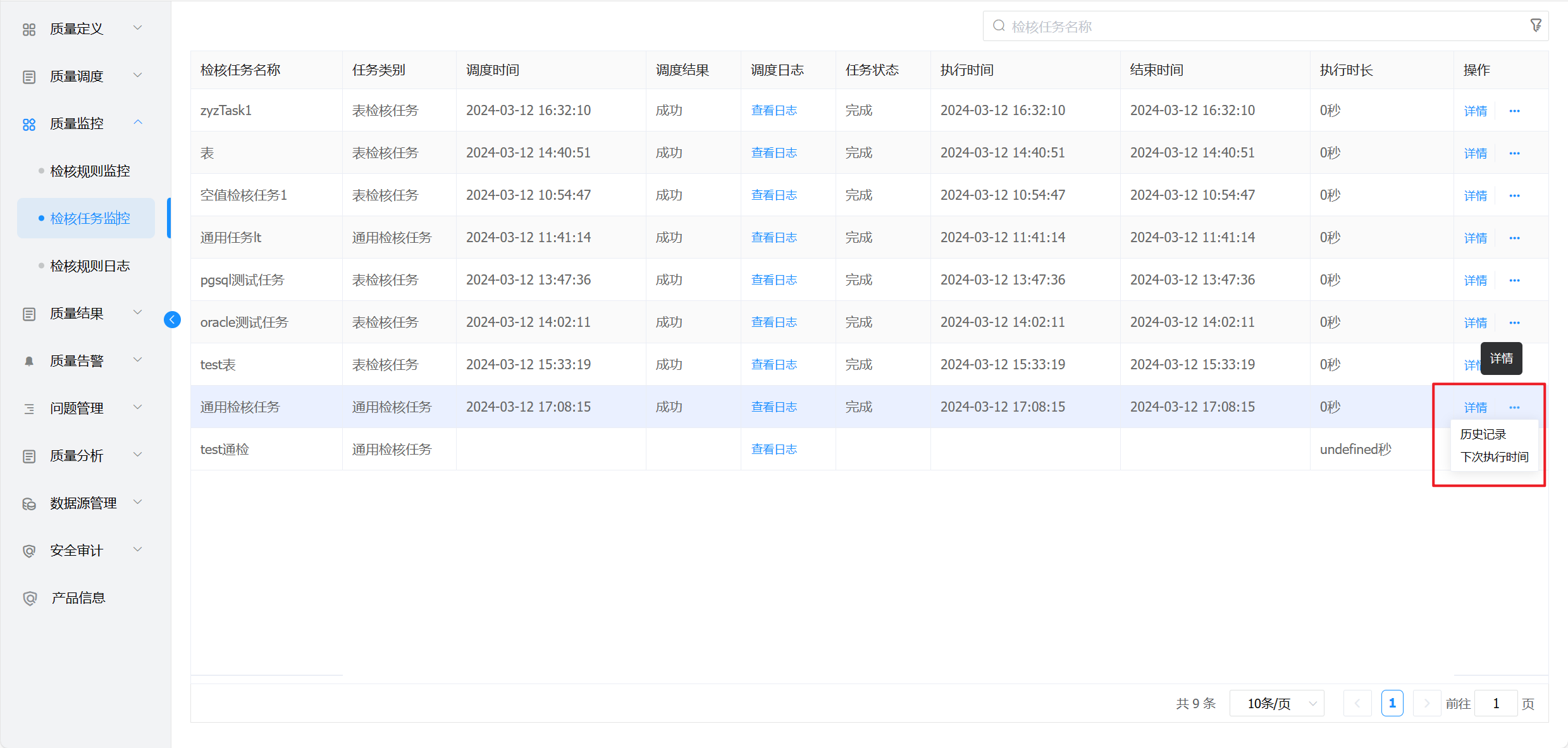
1.单击左侧导航菜单的“质量监控>检核任务监控”,任务状态分为运行、完成、失败,可以根据调度日志和执行日志来分析运行失败原因。

2.页面右侧点击“详情”操作,显示该检核任务下所有检核规则,并且展示每个检核规则的运行情况。

3.点击“历史记录”查看每次调度时间点该检核任务运行状态、日志详情、规则详情。

4.历史记录页面显示如下。

5.点击“下次执行时间”查看未来最近五次的执行时间。

6.在查询栏输入信息后点击“查询”页面显示查询到的信息,点击“重置”查询信息被清空。
