EOS Low-Code Platform 8 EOS Low-Code Platform 8
产品简介
安装部署
应用开发
专题场景实战案例
低代码(Low-Code)开发参考手册
高开开发参考手册
流程开发参考手册
AFCenter 使用指南
Governor 使用指南
FAQ
  • 灰度
  • 添加灰度
  • 编辑灰度
  • 删除灰度
  • 系统配置
  • 默认配置组及创建新的配置组
  • 实现配置热部署

# 灰度

灰度(流量策略)即应用在多实例组的前提下,通过一些指定条件将请求转发到指定的提供者实例组,应用场景包括:版本更新、服务升级等。

本章节所描述的是应用部署后,如何在Governor中通过设置指定HTTP请求头、源应用及IP段将请求转发到指定提供者实例组。

# 添加灰度

单击“灰度”菜单,右侧显示“灰度列表”,单击“创建策略”,显示“新增策略”页面:

img

满足规则类型(规则之间关系为 "逻辑与", 规则内参数之间关系为 "逻辑或")的请求将转发到目标应用的指定应用实例组。其中规则类型分为HTTP_HEADER、IP段及源应用:

img

img

img

参数 说明 界面规则
策略名称 即灰度(流量策略)名称 支持中文,英文,数字,-,下划线,最多20个字符
优先级 数字越大优先级越高 正整数,数字增减按钮,数字越大,级别越高,默认值100
规则类型 分为HTTP_HEADER、源应用及IP段,规则之间关系为 "逻辑与", 规则内参数之间关系为 "逻辑或" 下拉单选,分为HTTP_HEADER、IP段及源应用
参数 用于规则类型为请求头,支持多种比较方式,支持正则表达式 如果规则类型为“HTTP_HEADER”,支持写多个参数,参数名:支持英文、数字、-,/,下划线,最多14个字符,参数值:50个字符;如果规则类型为“源应用”,那么参数为下拉单选;如果规则类型为“IP段”,支持填写多个参数:遵循IP规则,多个IP用逗号分隔,支持IP段,IP段开头和结尾用-分隔,最长32个字符
应用 若满足规则类型,则该请求将会转发到该应用 下拉单选
应用实例组 若满足规则类型,则该请求将会转发到该应用实例 下拉单选

添加后单击状态开关启用灰度。

img

# 编辑灰度

单击如图所示图标进入“编辑流量策略”页面:

img

img

# 删除灰度

单击如图所示图标删除灰度(流量策略):

img

# 系统配置

区别于应用中应用配置,系统配置中发布的配置可以使用于系统下所有应用的所有实例组,这样极大的方便用户避免在多个应用配置相同时重复劳动。

本章节所描述的是如何在Governor中对所有的实例组实现配置的热部署。

前提:配置中心部署完成。其配置文件中eos.application.app-inst-grp-code表示在governor中实例组编号,默认为default;是否使用Apollo配置客户端apollo.bootstrap.enabled配置值需设置为true,apollo.meta配置值应为Apollo配置中心的config-service的地址

# 默认配置组及创建新的配置组

单击左侧导航树上的 “ 高级 ” 下“系统配置”菜单,右侧区域显示 “系统配置” 界面:

img

img

如图,左侧会自动生成默认配置组。默认配置组可满足大部分热部署的需求;在一些特殊的场景中,如需添加新的配置组,则点击配置组旁“+”按钮进入添加配置组页面:

img

其参数说明如下:

参数 说明 界面规则
配置组编码 每个应用实例组可同时存在多组配置,通过配置组编码区分,必填 支持英文、数字、-,_,最多14个字符
配置组名称 用于页面显示配置组,必填 支持中文,英文,数字,-,下划线,最多20个字符
描述 对配置组的描述 不限制字符类型,最多200个字符

# 实现配置热部署

点击新增配置项,在下方输入需要热部署的配置的key和value,输入完成后点击保存,最后点击“发布”按钮进入。此处以是否启用访问控制eos.accesscontrol.enabled为例:

img

img

img

输入发布名称及描述(可选填)后,回到配置tab页,可发现该配置状态为已发布:

img

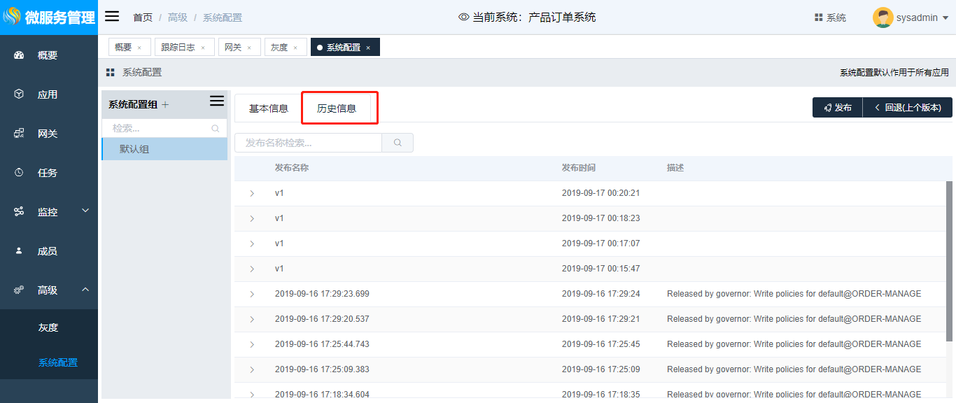
本次发布历史可在历史信息中查看:

img

上次更新: 2023/7/20下午12:25:28

← 监控 8.2.0版本如何升级 →